海星体育

 
 注册成为天翎用户
查看: 22|回复: 0

oa系统功能简介-海星体育

[复制链接]
cathy0913 发表于 2023-9-19 14:37:24 | 显示全部楼层 |
本帖最后由 cathy0913 于 2023-9-19 14:44 编辑

                                                                                oa系统功能简介


myapps低代码平台实现的oa办公系统含公文管理、考勤管理、考勤查询、报销管理、物资管理、物资管理查询、人事管理、人事管理查询、通用审批、公告管理等,提供天翎低代码开发后台,用户可通过后台自由调整或新增功能。
图片 1.png
1. 公文管理
1.1 新建收文单
收文处理单:标题、收文日期、总收文号、办理时限、来文单位、来文号、紧急程度(一般、紧急、特急)、密级(内部、非密)、拟办意见、办公室主任意见、领导批示、阅办部门意见、办理结果、关联文件(关联公文)、来文(上传)、附件(上传)。
图片 2.png
1.2. 已归档收文
视图查询字段:紧急程度、标题、办理时限、收文日期、来文单位、来文号、流程状态。
图片 3.png
1.2.1. 新建发文
发文稿纸:标题、拟稿、拟稿部门(下拉可选部门)、紧急程度(一般、紧急、特急)、密级程度(内部、非密)、发文日期、字号、签发、审发、核稿意见、主送、抄送、主题词、正文(上传)、附件(上传)。
图片 4.png
1.2.2. 已归档发文
视图查询字段:标题、拟稿、拟稿部门、紧急程度、发文日期、字号、主送、抄送、主题词。
图片 5.png
2.考勤管理
2.1 请假申请
新建请假申请:申请单号、申请人、开始时间、结束时间、请假天数、请假事由、图片(上传)、请假类型(产假、事假、病假、年假、婚假、陪产假)。
图片 6.png
2.1. 2. 出差申请
新建出差申请:申请人、出差地点、开始时间、结束时间、出差天数、出差事由、图片(上传)
图片 7.png
2.1. 3外出申请
新建外出申请:申请人、开始时间、结束时间、外出时间(小时)、外出事由、图片(上传)
图片 8.png
2.1.4补卡申请
新建补卡申请:申请人、补卡时间、补卡理由、图片(上传)。
图片 9.png
2.1.5 加班申请
新建加班申请:申请单号、申请、申请日期、所属部门、加班类型(法定节假日加班、双休日加班、日常加班)、加班时间、加班内容、补偿方式。
图片 10.png
3 .考勤查询
3.1. 打卡记录查询
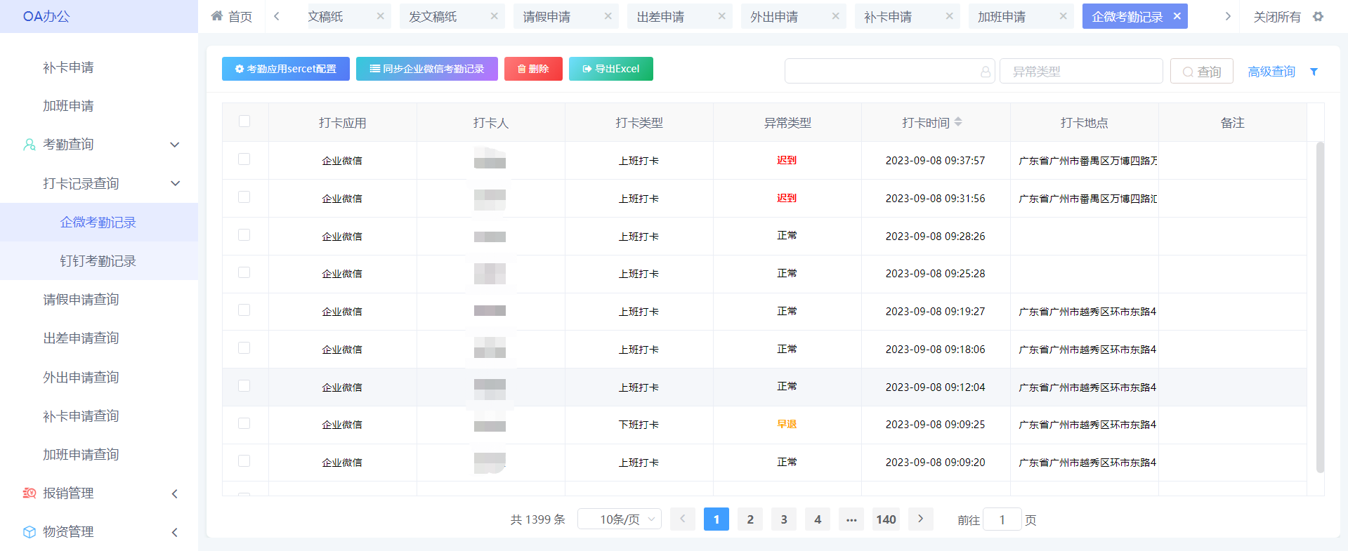
3.1.1. 企微考勤记录
视图列:打卡应用、打卡人、打卡类型、异常类型、打卡时间、打卡地点、备注。
按钮:考勤应用sercet配置、同步企业微信考勤记录、删除、导出excel。
图片 11.png
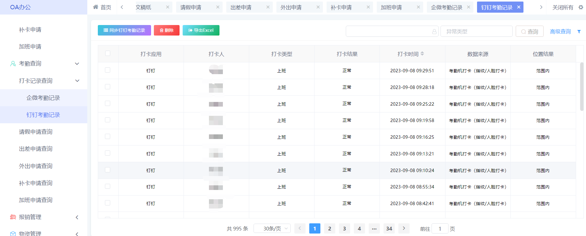
3.1.2. 钉钉考勤记录
视图列:打卡应用、打卡人、打卡类型、打卡结果、打卡时间、数据来源、位置结果。
图片 12.png
3.1.3请假申请查询
视图列字段查询:申请人、申请时间、请假类型、开始时间、结束时间、请假天数、请假事由、流程状态。
图片 13.png
3.1.4出差申请查询
视图列字段查询:申请人、出差地点、开始时间、结束时间、出差天数、出差事由、流程状态。
图片 14.png
3.1.5 外出申请查询
视图列字段查询:申请人、开始时间、结束时间、外出时间(小时)、外出事由、流程状态。
图片 15.png
3.1.6 补卡申请查询
视图列字段查询:申请人、补卡时间、补卡理由、流程状态。
支持常规查询及高级查询。
图片 16.png
3.1.7加班申请查询
视图列字段查询:加班单号、申请人、申请日期、所属部门、加班类型、开始时间、结束时间、加班时长、补偿方式、流程状态。
图片 17.png
4 .报销管理
4.1报销申请
新建报销申请:报销单号、申请人、所属部门、申请日期、海星体育的支付方式(现金、转账)、实际批准金额(元) 。
图片 18.png
4.2我的报销
报销单号、申请人、申请日期、报销总金额(元)、实际批准金额、流程状态。
图片 19.png
5. 物资管理
5.1 物品领用
新建物品领用:领用人(用户按部门、按角色、通讯录、最近)、领用日期、物品用途。
按钮:提交、保存、返回。
图片 20.png
新建子表物品明细:物品名称、物品数量、领用详情。
子表内按钮:保存、保存并新增、返回。
图片 21.png
5.2 物品申请
新建采购申请:申请事由、期望交付日期、采购类型(办公用品、其他)、期望交付日期、海星体育的支付方式(现金、汇款、支付宝)、总金额(元)、备注。
图片 22.png
5.3. 发起付款
新建付款信息:付款事由、付款总额(元)、付款方式(支票、贷记、电汇、汇票、现金、银行卡)、支付日期、开户行。
图片 23.png
6 .物资管理查询
6.1. 物品领用查询
列表字段:领用人、领用日期、领用用途、流程状态。
图片 24.png
6.2. 采购申请查询
视图列表字段:申请事由、采购类型、期望交付日期、海星体育的支付方式、总金额、备注、流程状态。
图片 25.png
6.3. 付款查询
视图列表字段:付款事由、付款总额(元)、付款方式、支付日期、支付对象、开户行、银行账户、流程状态。
图片 26.png
7 .人事管理
7.1. 入职申请
新建入职申请:入职员工、职位、员工类型、用人部门、手机号、入职日期。
7.2. 调岗申请
新建调岗申请:申请人、入职日期、生效日期、原部门、原职位、转入部门、转入职位。
图片 27.png
7.3. 转正申请
新建转正申请:申请人、入职日期、试用期、转正日期、职位、职级、工作业绩结果描述、价值观落地、工作态度和技能、个人优势和不足、未来工作方向和目标。
图片 28.png
7.4. 离职申请
新建离职申请:申请人、入职日期、最后工作日、离职原因、离职原因备注。
图片 29.png
7.5. 离职交接
新建离职交接:申请人、最后工作日、工作交接人、工作交接事项、公司财务交接事项。
图片 30.png
8 .管理查询
8.1. 入职查询
视图查询字段:员工姓名、用人部门、职位、手机号、员工类型、入职日期、流程状态。
图片 31.png
8.2. 调岗申请查询
视图查询字段:申请人、入职日期、生效日期、原部门、原职位、转入部门、转入职位、流程状态。
图片 32.png
8.3. 转正申请查询
视图查询字段:申请人、入职日期、试用期、转正日期、职位、职级、流程状态。
图片 33.png
8.4. 离职请查询
视图查询字段:申请人、入职日期、最后工作日、离职原因、离职原因、流程状态。
图片 34.png
8.5. 离职交接查询
视图查询字段:申请人、最后工作日、工作交接人、工作交接事项、流程状态。
图片 35.png
9 .通用审批
9.1. 通用审批申请
新建通用审批申请:申请人、申请内容、审批详情、图片、附件。
图片 36.png
9.2.通用审批查询
视图查询字段:申请人、申请内容、审批详情。
图片 37.png
10. 公告管理
10.1. 查看公告
视图查询字段:标题、类型、生效日期、终止日期、发布范围、相关附件、创建时间、创建人、发布部门。
图片 38.png
10.2. 新建公告
新建公告:标题、类型、生效日期、终止日期、发布范围、相关附件、创建时间、创建人、发布部门。
图片 39.png
10.3. 公告审核
公告审核:标题、类型、生效日期、终止日期、发布范围、相关附件、创建时间、创建人、发布部门。
图片 40.png
10.4. 公告分类
公告分类:公告类别名称、序号。
图片 41.png
您需要登录后才可以回帖 登录 | 注册成为天翎用户

本版积分规则

||海星体育 ( )

gmt 8, 2023-9-30 12:11

powered by x3.4

海星体育 copyright © 2001-2020, tencent cloud.

快速回复 返回列表
网站地图