天翎myapps平台案例分享—君和阿米巴管理系统 | bpm-海星体育
项目背景:广州君和信息技术有限公司,总部位于广州,在武汉和上海设立分公司。公司专注于基础设施行业的全生命周期的bim咨询服务、软件销售、软件研发以及培训,覆盖民用建筑、土木交通、工业建筑、水处理、勘察测绘、环保、石化、冶金、电力等行业领域;随着业务的发展君和团队越来越强大,为了更好的发展公司业务及团队归属感,现需要一套阿米巴管理系统帮助企业开展业务实现数字化经营的转型。
海星体育的解决方案:作为国内知名的企业信息化落地赋能厂商,天翎以“阿米巴系统“为核心,用统一管理给独立核算方式,让这个体系是一个动态的行走的数据系统,每个项目组都知道自己的成本和利润,以及费用明细,清晰掌控自己项目进度,高效管,自动化运转。

功能模块划分:

主题登记:可查看阿米巴组织登记、人员信息登记菜单;

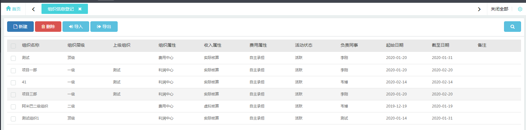
组织信息登记:


导入阿米巴组织登记:若excel表格有现成的数据,还可以通过导入表格来完成数据填写;同时还支持下载模板输入数据,再导入系统;


交易登记:主要分为订单信息登记、工序信息登记、内部结算信息登记;

订单信息管理:主要登记订单类型、选择的项目、订单合同金额及状态等;

填写完订单登记后,流程就到财务审批;

发送通知:当信息登记填写完成后,需要给签单同事、财务人员、总经理发送通知;

内部分配:在交易登记中进入“工序信息登记”,选择对应订单、工序名称、工序状态、负责同事、分配比例;


导出内部分配信息:内部分配信息导出到excel表;

内部结算信息:选择承接日期、对应订单、工序名称、收款事业部、收款公司、收款事业部核算科目、付款事业部、付款公司、付款事业部核算科目、结算金额、完成日期、结算内容、参考比例/价格;

财务核算:收票登记、资金调拨、开票登记、收入信息登记、支出费用登记;

信息提交财务审批后,同时信息也能抄送给相关的同事;

收票登记:财务核算中的收票登记,新建单把相关订单信息、供应商、合同编码、发票类型、税点等信息记录;

资金调拨:

收入信息登记:收入类型、核算科目、回款日期、收入公司、收入金额、实际收款公司、收款事业部、收入方式、确认日期等信息;

支出费用登记:

工时费用:可查看工时信息、人工费用登记;

财务报表:可查看事业部利润表、项目利润报表、成本费用报表数据、内部结算报表数据、应收余额报表数据、资金流量统计报表数据。


主数据:公司信息维护、项目信息维护、银行账户信息、内部交易价、客户基本信息、供应商单位信息、核算科目、发票类型;可理解为公司的档案库。


发票类型:


项目价值:通过系统动态数据、提供分析报表、实现了君和市场挂钩部门核酸制度、通过系统的功能让全体员工共同参与经营培养具有经营模式的人才,助力为企业业务更上一步。